2025年12月7日 星期日
把這篇文章貼到Plurk噗浪 把這篇文章貼到twitter 把這篇文章貼到FaceBook
BMW最新專利申請將讓車子後視鏡變成LED告示牌
AUTONET記者:趙惠群(08/15/2024)
字級設定:
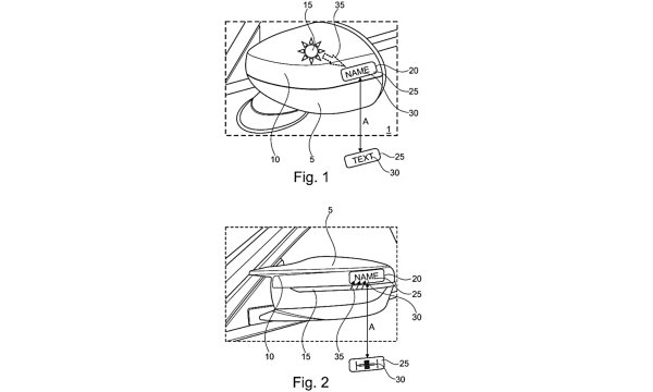
你也許注意到近兩年來在豪華車的市場領域中,BMW的銷售表現總是優於主要宿敵賓士(Mercedes Benz),尤其是電動車,推究原因,或許和BMW車款比起賓士車,具有更多原創的設計,才是吸引買家的目光,最近BMW又申請了一項專利,其內容為BMW為後視鏡加了可客制化的顯示面板,它可以打上車主的名字或其他圖像,以增強車子的個性化。



這個後視鏡上的客制化顯示面板,將容許使用文字或圖像進行定製,可能會加大變成轉向指示燈。BMW正在探索各種以數位方式傳達資訊的車身改裝方式。在過去的幾十年裡,BMW對售後服務市場的客制化著墨甚深,這家汽車製造商不再只是生產一輛汽車,並期望車主有更大的滿意度,現在還設計了一系列M Performance升級套件,讓車子有更強的個性化表現張力,這些部件通常由碳纖維FRP製成,看起來非常運動化,根據外媒Carbuzz的報導指稱,近日德國專利商標局發現的一項新專利的申請,其中寶馬建議在後視鏡的外蓋上,添加一個可客製化的顯示面板。

該專利並不是特別複雜,簡而言之,可更換的外後視鏡蓋將配備一個由LED或OLED模組供電的小型顯示幕,可以從用於調整鏡子和啟動轉向信號的同一線束中獲取電力,但也可運用太陽能電池。利用中控螢幕內 iDrive 資訊娛樂介面或 My BMW 應用程式,就可以使用自訂文字或圖像在這顯示幕上顯示你想要的內容。

該專利沒有具體說明螢幕尺寸或螢幕類型,而是關注鏡子的各個部分如何相互整合。螢幕太小,其他駕駛員無法看到,並且對於配備它的車內的人來說是不可見的,這樣的功能肯定會增加製造商和消費者的成本。






AutoNet汽車新聞APP即時推播通知

  快下載iOS版》》Apple Store

  Android版》》google Play

   新聞列表(08/15/2024)

BMW 德國/寶馬車廠
日期
2024 BMW Kids Campus體驗營 超人氣精彩落幕
09/03/2024
全新 BMW M3 COMPETITION / BMW M3 COMPETITION TOURING 預售起跑
09/02/2024
TOYOTA和BMW將宣布擴大雙方在燃料電池車領域的合作結盟
08/28/2024
特斯拉再跌落神壇?BMW 電動車 7月在歐洲市場超越特斯拉
08/23/2024
全新世代BMW 530i M Sport預售正式展開
08/20/2024
BMW最新專利申請將讓車子後視鏡變成LED告示牌
08/15/2024
讓數位行動生活更豐富,BMW推出功能進化的My BMW App和 MINI App應用程式
08/13/2024
全新2025年式BMW iX豪華純電旗艦休旅 正式上市
08/13/2024
BMW仲夏禮馭 全車系多元優惠購車方案
08/09/2024
讓人形機器人組裝你的愛車!BMW探索測試人形機器人運用在機器生產線上
08/07/2024
歐盟報復性關稅自損三分,可能調降來自中國的BMW和福斯電動車進口關稅
07/18/2024
BMW電動車強大陣容 銷售大幅成長72%
07/11/2024
全新BMW 4系列CONVERTIBLE敞篷跑車 耀眼上市
06/13/2024
BMW與倍耐力攜手開發適用於BMW 7 系列的全新20吋P Zero Winter 2 冬季胎
06/06/2024
BMW攜手超模Naomi設計紫色天鵝絨包覆的XM Mystique Allure 特仕車,坎城影展亮相全球
05/20/2024
BMW攜手2024年度台北當代藝術博覽會 精彩展演
05/13/2024
全新2024年式BMW X3、X4 M Sport鉑金版 撼動上市
05/07/2024
BMW將修改車款命名規則,車型名稱尾端的i字母將會拿掉
05/02/2024
2024 BMW Summer Outdoor夏季健診活動
05/02/2024
全新BMW 218i Active Tourer Luxury限量版 正式上市 與您一同輕鬆探索生活新風貌
04/16/2024

1  2  -3-  4  5  6  7  8  9  10   
















   
▲TOP

AutoNet汽車日報 版權所有 禁止轉載 c 1996-2011 AutoNet.com.tw All Rights Reserved. Tel:(02)2768-9907 Fax:(02)2749-2872

▲TOP